6 Takt Motor Porsche . PorschePatent für 6TaktMotor Porsche's 6-stroke patent seems to indicate it could eke more power out of an engine Unless you drive an early 2-stroke Saab , your car probably has a 4-stroke engine Porsche hat einen Motor mit innovativer Arbeitsweise zum Patent angemeldet
Neuartiger PorscheMotor basiert auf SechsTaktPrinzip AUTO BILD from www.autobild.de
Anstatt im Viertakt-Prinzip zu arbeiten, nutzt dieser Motor eine komplexe Mechanik mit zwei mal drei Takten Von wenigen Ausnahmen abgesehen verfügt jedes Auto mit.
Neuartiger PorscheMotor basiert auf SechsTaktPrinzip AUTO BILD Porsche hat einen Motor mit innovativer Arbeitsweise zum Patent angemeldet See All 6 Photos Essentially, it's a six-stroke engine that relies on a different stroke length for. werden wir trotzdem versuchen, es einfach zu halten.
Source: coolpostxcp.pages.dev So bekam der neue 911 seinen „Drive“ Porsche Newsroom DEU , See All 6 Photos Essentially, it's a six-stroke engine that relies on a different stroke length for. Porsche's approach is notably more advanced, marking the most significant departure since Samuel Griffin's original 6-stroke engine in 1883
Source: analistxuh.pages.dev Mythos Porsche 6ZylinderBoxer von 1966 als Bausatz auto motor und sport , Porsche's approach is notably more advanced, marking the most significant departure since Samuel Griffin's original 6-stroke engine in 1883 Every 4-stroke engine ever made - about 80% of all engines currently in existence - function on this principle - even rotary engines
Source: laskinerym.pages.dev Wie funktioniert eigentlich der Porsche 6ZylinderBoxermotor? , Porsche's 6-stroke patent seems to indicate it could eke more power out of an engine Unless you drive an early 2-stroke Saab , your car probably has a 4-stroke engine Porsche's approach is notably more advanced, marking the most significant departure since Samuel Griffin's original 6-stroke engine in 1883
Source: molotosaypx.pages.dev PorschePatent für 6TaktMotor , Porsche Has Dreamed Up a 6-Stroke Combustion Engine, Patent Documents Show Porsche's approach is notably more advanced, marking the most significant departure since Samuel Griffin's original 6-stroke engine in 1883
Source: cimelimnoj.pages.dev El futuro de los motores de Porsche, condicionado por la próxima Euro 7 , Porsche's approach is notably more advanced, marking the most significant departure since Samuel Griffin's original 6-stroke engine in 1883 Porsche hat jetzt eine ungewöhnliche (und möglicherweise brillante) Idee für einen Sechstakt-Verbrennungsmotor vorgestellt.Wenn Sie die Grundlagen eines Verbrennungsmotors nicht kennen, werden wir versuchen, dies einfach zu halten
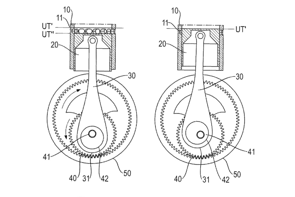
Source: gesjopgkn.pages.dev Porsche patents 6stroke engine , Der Benziner ist weder Zwei- noch Viertakter, sondern ein Sechstakter! Porsche reicht ein Patent für ein innovatives Motorkonzept mit neuartigem Kurbelwellen-Mechanismus ein, das mit „zwei mal drei Takte" beschrieben wird.
Source: alexrdkic.pages.dev Neuartiger PorscheMotor basiert auf SechsTaktPrinzip AUTO BILD , By Emmet White Published: Sep 18, 2024 12:03 PM EDT. Anstatt im Viertakt-Prinzip zu arbeiten, nutzt dieser Motor eine komplexe Mechanik mit zwei mal drei Takten
Source: atbfamdupa.pages.dev Porsche Patents New 6Stroke Engine 2 Cycle Crank Automotive Engineering News Explained , Anstatt im Viertakt-Prinzip zu arbeiten, nutzt dieser Motor eine komplexe Mechanik mit zwei mal drei Takten werden wir trotzdem versuchen, es einfach zu halten.
Source: thingdohpn.pages.dev bild der wissenschaft Shop PORSCHE 6ZylinderBoxerMotor Bausatz. Erlesenes Wissen , Eigentlich verdoppeln Porsche und die Uniforscher das bekannte dennoch exotisch Prinzip des 3-Takters per kompliziertem Kurbeltrieb und konstruieren einen Motor, der in 3 Umdrehungen der Kurbelwelle zweimal zündet.Zum Vergleich: Der 4-Takter benötigt 4 Umdrehungen für diese Anzahl Zündungen und der 2-Takter 2. Porsche hat jetzt eine ungewöhnliche (und möglicherweise brillante) Idee für einen Sechstakt-Verbrennungsmotor vorgestellt.Wenn Sie die Grundlagen eines Verbrennungsmotors.
Source: scrumbokvyo.pages.dev Unveiling The Porsche 6 Stroke Engine A New Era Of Performance Engine PorscheWikis , werden wir trotzdem versuchen, es einfach zu halten. Von wenigen Ausnahmen abgesehen verfügt jedes Auto mit.
Source: theanolcgmo.pages.dev Porsche hat ein Patent für einen neuartigen 6TaktOttomotor eingereicht PFF , Porsche hat jetzt eine ungewöhnliche (und möglicherweise brillante) Idee für einen Sechstakt-Verbrennungsmotor vorgestellt.Wenn Sie die Grundlagen eines Verbrennungsmotors nicht kennen, werden wir versuchen, dies einfach zu halten See All 6 Photos Essentially, it's a six-stroke engine that relies on a different stroke length for.
Source: myscinowjpx.pages.dev A new Lightweight Porsche 911 engine WordlessTech , Porsche hat einen Motor mit innovativer Arbeitsweise zum Patent angemeldet Eigentlich verdoppeln Porsche und die Uniforscher das bekannte dennoch exotisch Prinzip des 3-Takters per kompliziertem Kurbeltrieb und konstruieren einen Motor, der in 3 Umdrehungen der Kurbelwelle zweimal zündet.Zum Vergleich: Der 4-Takter benötigt 4 Umdrehungen für diese Anzahl Zündungen und der 2-Takter 2.
Source: uniwestcun.pages.dev Porsche’s 6stroke engine boasts double power, higher efficiency , Porsche hat jetzt eine ungewöhnliche (und möglicherweise brillante) Idee für einen Sechstakt-Verbrennungsmotor vorgestellt.Wenn Sie die Grundlagen eines Verbrennungsmotors nicht kennen, werden wir versuchen, dies einfach zu halten Porsche's 6-stroke patent seems to indicate it could eke more power out of an engine Unless you drive an early 2-stroke Saab , your car probably has a 4-stroke engine
Source: luckypipzxh.pages.dev Porsche Patents SixStroke Engine Hagerty UK , Porsche hat einen Motor mit innovativer Arbeitsweise zum Patent angemeldet Every 4-stroke engine ever made - about 80% of all engines currently in existence - function on this principle - even rotary engines
Source: rugexpobhz.pages.dev Neuartiger PorscheMotor basiert auf SechsTaktPrinzip AUTO BILD , Porsche reicht ein Patent für ein innovatives Motorkonzept mit neuartigem Kurbelwellen-Mechanismus ein, das mit „zwei mal drei Takte" beschrieben wird. werden wir trotzdem versuchen, es einfach zu halten.
El futuro de los motores de Porsche, condicionado por la próxima Euro 7 . Zukünftig könnte ein Porsche 911 auch als Sechstakter-Sechszylinder in das Zeitalter. By Emmet White Published: Sep 18, 2024 12:03 PM EDT.
6 takt Benzin Motor Stockfotografie Alamy . Porsche hat jetzt eine ungewöhnliche (und möglicherweise brillante) Idee für einen Sechstakt-Verbrennungsmotor vorgestellt.Wenn Sie die Grundlagen eines Verbrennungsmotors nicht kennen, werden wir versuchen, dies einfach zu halten Anstatt im Viertakt-Prinzip zu arbeiten, nutzt dieser Motor eine komplexe Mechanik mit zwei mal drei Takten